Beschreibung
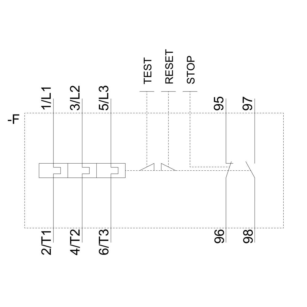
Überlastrelais 0,45...0,63 A thermisch für Motorschutz Baugröße S00, CLASS 10 Einzelaufstellung Hauptstromkreis: Federzugklemme Hilfsstromkreis:Federzugklemme Hand-Automatik-RESET Thermisches Überlastrelais SIRIUS 3RU2 zum stromabhängigen Schutz von Verbrauchern mit Normalanlauf gegen unzulässig hohe Erwärmung infolge von Überlast oder Phasenausfall.
Diese Baureihe ist besonders flexibel und kostengünstig. Weltweite Zulassungen (z.B. IEC und UL/CSA) und Anwendungen in explosionsgefährdeten Applikationen (ATEX bzw. IEC Ex) sind selbstverständlich.
Lieferbar mit verschiedenen Einstellbereichen des Überlastauslösers. Sie sind mit Schraub- oder Federzuganschluss für einen schnellen, wartungsfreien und rüttelsicheren Anschluss, sowie für Einzelaufstellung erhältlich.
Das Zubehör passt durchgängig für alle Baugrößen S00 bis S3.
Einfach, effizient, immer aktuell - der SIRIUS Systembaukasten.
Abbildung ähnlich
Abbildung ähnlich