Beschreibung
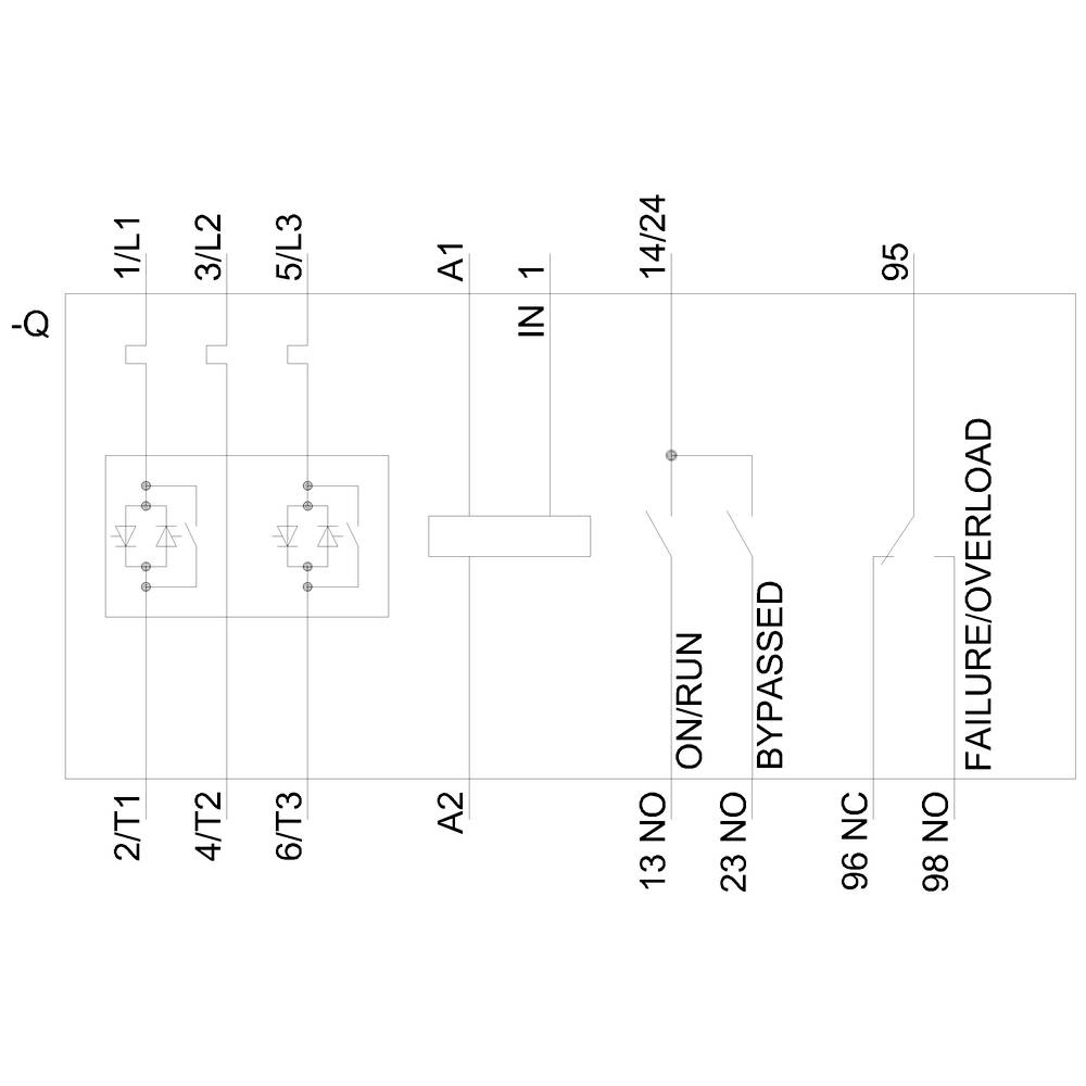
SIRIUS Sanftstarter S0 38 A, 18,5 kW/400 V, 40 °C AC 200-480 V, AC/DC 24 V Federzugklemmen Sanftstarter SIRIUS 3RW40 für Standardanwendungen zum sanften An- und Auslauf von Drehstromasynchronmotoren.
Stufenloses Starten, Reduzieren von Stromspitzen, Vermeiden von Netzspannungschwankungen im Anlauf, Entlasten des Stromversorgungsnetzes, Verringern der mechanischen Belastung im Antrieb, erhebliche Platz- und Verdrahtungsersparnis gegenüber Stern-Dreieck-Startern und Frequenzumrichtern, wartungsfreies Schalten und einfachste Handhabung. Der integrierte Bypass ermöglicht die sehr kompakte Bauweise und sorgt für eine geringere Erwärmung im Schaltschrank. Intelligente Überwachungsfunktionen schützen den Sanftstarter vor Überhitzung und den Motor vor Überlast. Zudem können Sie den Strom während des Hochlaufs auf einen einstellbaren Maximalwert begrenzen. Mit dem integrierten Fern-Reset können Sie Störungen schnell und einfach aus der Ferne beheben. Weltweite Zulassungen (z.B. IEC und UL/CSA) auch für explosionsgefährdete Applikationen (ATEX bzw. IEC Ex).
Verfügbar sind die Sanftstarter 3RW für Netze bis 690 V in einem großen Leistungsbereich mit unterschiedlichen Steuerspeisespannungen und durchgängig mit Schraub- und Federzuganschluss. Bei 3RW30/40 gibt es zusätzliche Varianten mit 24 V Steuerspeisespannung. Einige der 3RW40 bis Baugröße S3 sowie alle 3RW44 bieten zudem einen Thermistormotorschutz.
Mit dem optionalen Verbindungsbaustein können die Sanftstarter an die Leistungsschalter angebaut werden, sogar für die Varianten mit Federzuganschluss. Der optionale Lüfter ermöglicht eine noch dichtere Bauweise im Schaltschrank.
Einfach, effizient, immer aktuell - der SIRIUS Systembaukasten.
Abbildung ähnlich
Abbildung ähnlich