Beschreibung
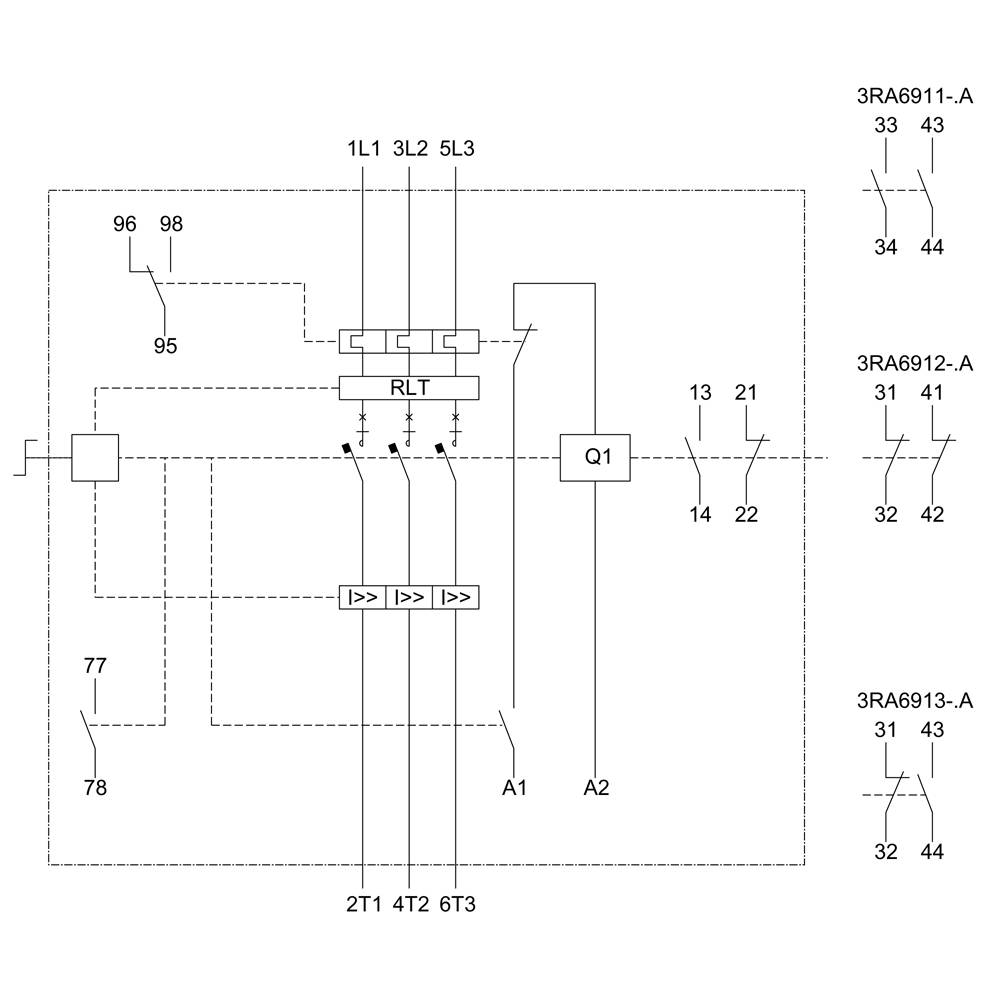
SIRIUS Kompaktabzweig Direktstarter 690 V AC/DC 24 V 50...60 Hz 0,32...1,25 A IP20 Anschluss Hauptstromkreis: Schraubanschluss Anschluss Hilfsstromkreis: steckbar, ohne Klemmen Kompaktabzweig SIRIUS 3RA61 zum direkten Starten von Drehstrom-Normmotoren bis 32 A.
Die Geräte vereinen die Funktionen von Leistungsschaltern, Schützen und elektronischen Überlastrelais und verfügen über eine sehr hohe Betriebssicherheit. Eine geringe Varianz vereinfacht die Logistik. Die kompakte Bauweise spart Platz im Schaltschrank. Dank abnehmbarer Klemmen ist ein einfacher Austausch möglich. Die Geräte sind weltweit zugelassen (z.B. IEC und UL/CSA).
Die Kompaktabweige sind als Direkt- oder Wendestarter verfügbar und sind mit verschiedenen Einstellbereichen erhältlich. Ausgelegt für AC/DC-Betätigung stehen sie mit Schraub-, Federzuganschluss oder ohne Klemmen zur Verfügung.
Neben der Kommunikationsanbindung mittels AS-Interface stehen als Zubehör das Einspeisesystem 3RA68und Hilfskontakte sowie Klemmen zur Verfügung.
Einfach, effizient, immer aktuell - der SIRIUS Systembaukasten.
Abbildung ähnlich
Abbildung ähnlich